Cветофоры мачтовые
Комплекты светофоров мачтовых нового поколения изготавливаются в соответствие с ТУ BY 500015511.009-2014. Подходят для замены действующих светофоров 17758-00-00 (ТУ 32 ЦШ 2141-2009).
Устанавливаются на мачтах, мостиках и консолях, обеспечивают безопасность движения поездов и маневровых работ в условиях с умеренным (У) или холодным климатом (УХЛ) категории размещения 1 по ГОСТ 15150. Выпускаются одно-, двух-, трехзначные c разными типами крепления на опору или мачту (металлическую или железобетонную) либо с в сборе с мачтой, лестницей, стаканом с кабельной муфтой.
Особенностью наших светофоров является использование головок из SMC-материалов с степенью защиты (с линзами или светодиодами) от внешних воздействий IP54 по ГОСТ 14254. В головках применяются светодиодные комплексы LLA-2 (EFFILUX, Чехия), ССК 160 (ЗАО НПО «РоСАТ», Россия) или ламповые КЛ. Модульная конструкция светофоров позволяет формировать светофор под конкретные задачи Заказчика.
Светодиодные комплексы защищены вандалоустойчивыми колпаками из ударопрочного оптического поликарбоната марки «Макролон», отличающегося высокой светопропускающей способностью.
Преимущества светофорных головок из SMC материала:

| Основные параметры светофоров | |
|---|---|
| Номинальное напряжение | до 1000 В |
| Номинальный кратковременный выдерживаемый ток | 20 кА, 1 сек |
| Пробивное напряжение | 17 кВ/мм |
| Электростойкость | 24 кВ/мм |
| Огнеупорность | 960 ºС |
| Воспламеняемость | VO |
| Класс пожаростойкости | FH 2-7 мм |
| Степень защиты светофорных головок по ГОСТ 14254 | IP 54 |
| Степень защиты кабеля ввода | IP 67 |
| Все металлические детали защищаются методом горячего цинкования по ГОСТ 9.307-89 | Да |
| Климатическое исполнение изделий по ГОСТ 15150 | УХЛ-1 |
| Температура эксплуатации | от -60 до + 70 ºС |
| Толщина стенки | 4-6 мм |
| Цвет |
Св. серый RAL7035 (корпус, крышка, трансформаторный ящик) Черный RAL9005 (козырек, щит квадратный, щит круглый) |
| Угол открывания дверцы корпуса головки, трансформаторного ящика | 180 град |
| Угол регулировки меневрового светофора (вертикально/горизонтально) | в обе стороны 25 / 45 град |
| Угол регулировки мачтового светофора (вертикально/горизонтально) | в обе стороны 15-20 / 90 град |
| Срок службы элементов из композита | Более 30 лет |
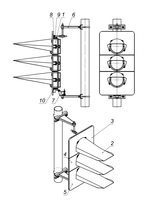
Конструкция светофора мачтового:
.jpg)

1. Головка светофора трехзначная ЯТВИ.16943-00-00 – 1 шт.
2. Козырек ЯТВИ 16941.00.01 – 3шт
3. Щит верхний ЯТВИ 16941.00.01 – 1 шт
4. Щит средний ЯТВИ 16943.00.01 – 1 шт
5. Щит нижний ЯТВИ 16942.00.03 – 1 шт
6. Кронштейн крепления на металлическую мачту ЯТВИ 16969.00.00 (на железобетонную мачту ЯТВИ 16971.00.00) – 1 шт.
7. Кронштейн регулировочный нижний ЯТВИ 16969.00.00 – 1 шт
8. Кронштейн регулировочный верхний ЯТВИ 16970.00.00 – 1 шт
9. Пластина переходная верхняя ЯТВИ 16941.00.03 – 1 шт
10. Пластина переходная нижняя ЯТВИ 16941.00.03-01 – 1 шт
Дополнительные составные части (при поставке светофора вместе с мачтой):

Лестница с креплением на металлическую мачту.

Металлические мачты
Исполнения светофора мачтового в сборе:
| Светофор мачтовый * |
||||||
| № | Фото | Название | Комплектация |
Масса в сборе, кг |
||
| 7 | ![]() |
1-значный IP54
ЯТВИ.331.01.000СБ на металлическую мачту |
головка светофора IP54, квадратный щиток, козырек, крепление на металлическую мачту |
22 | ||
| 8 | ![]() |
1-значный IP54
ЯТВИ.331.01.000-01СБ на железобетонную мачту |
головка светофора IP54, квадратный щиток, козырек, крепление на железобетонную мачту | 22 | ||
| 9 | ![]() |
2-значный IP54 ЯТВИ.331.02.000СБ на металлическую мачту |
головка светофора IP54 (2шт.), квадратный щиток (2шт.), козырек (2шт), крепление на металлическую мачту | 30 | ||
| 10 | ![]() |
2-значный IP54 ЯТВИ.331.02.000-01СБ на железобетонную мачту |
головка светофора IP54 (2шт.), квадратный щиток (2шт.), козырек (2шт), крепление на железобетонную мачту | 30 | ||
| 11 | ![]() |
3-значный IP54 ЯТВИ.331.03.000СБ на металлическую мачту |
головка светофора IP54 (3шт.), квадратный щиток (3шт.), козырек (3шт), крепление на металлическую мачту | 40 | ||
| 12 | ![]() |
3-значный IP54 ЯТВИ.331.03.000-01СБ на железобетонную мачту |
головка светофора IP54 (3шт.), квадратный щиток (3шт.), козырек (3шт), крепление на железобетонную мачту | 40 | ||
* На сайте представлена только основные виды светофоров. Все возможные варианты исполнения комплектов составных частей и номенклатура светофоров на металлических мачтах изготавливаются в соответствии с типовыми решениями Белжелдорпроекта, Белтрансавтоматика, РосЖелДорПроекта и т.д.
Составные части светофора мачтового в разобранном виде:
|
№ |
Обозначение составной части |
Наименование |
Масса, кг, не более |
|
1 |
ЯТВИ.16941-00-00 |
Головка однозначная с круглым щитом |
5,5 |
|
2 |
ЯТВИ.16942-00-00 |
Головка двухзначная |
13,5 |
|
3 |
ЯТВИ.16943-00-00 |
Головка трехзначная |
16,5 |
|
4 |
ЯТВИ.16944-00-00 |
Головка однозначная с квадратным щитом |
6 |
|
5 |
ЯТВИ.16941-01-00(-01) |
Корпус с крышкой в сборе |
3,5 |
|
6 |
ЯТВИ.16941-01-01 |
Корпус |
2,0 |
|
7 |
ЯТВИ.16941-01-02 |
Крышка |
1,5 |
|
8 |
ЯТВИ.16941-01-04 |
Щит круглый |
1,0 |
|
9 |
ЯТВИ.16942-00-01 |
Щит верхний |
1,4 |
|
10 |
ЯТВИ.16942-00-03 |
Щит нижний |
1,4 |
|
11 |
ЯТВИ.16943-00-01 |
Щит средний |
1,0 |
|
12 |
ЯТВИ.16944-00-01 |
Щит квадратный |
1,1 |
| 13 | ЯТВИ.16942-00-02 | Заглушка | 0,6 |
| 14 | ЯТВИ.16941-00-01 | Козырек | 1,9 |
| 15 | ЯТВИ.16941-00-03(-01) | Пластина | 0,4 |
| 16 | ЯТВИ.16969-00-00 | Кронштейн КНМ | 7 |
| 17 | ЯТВИ.16970-00-00 | Кронштейн КВМ | 6 |
| 18 | ЯТВИ.16971-00-00 | Кронштейн КНЖ | 7,5 |
| 19 | ЯТВИ.16972-00-00 | Кронштейн КВЖ | 6,5 |
| 20 | ЯТВИ.16994-00-00 | Шланг 1 | 0,9 |
|
-01 -02 -03 |
1,0 1,1 1,2 |
Варианты поставки светофора: в сборе, в разобранном виде, по элементно.
Вы можете пригласить нас на участие в тендере Отправить запрос



